Ưu điểm, nhược điểm của động cơ Diesel, nguyên lý hoạt động của động cơ xe nâng
Trong động cơ xăng, nhiên liệu được phun ra, trộn với không khí, nén và sau đó đốt cháy bằng tia lửa điện.
Trong động cơ diesel ở xe nâng dầu, trước tiên chỉ có không khí được hút vào các lớp đệm cylin và được nén cho đến khi nó trở nên rất nóng. Sau đó, một lớp sương mù nhiên liệu diesel sẽ được phun vào các xi-lanh. Nhiên liệu diesel được đốt cháy nhờ sức nóng của không khí ép.
Do đó, nhiệt độ của khí nén trong buồng đốt của động cơ diesel phải được tăng lên xấp xỉ 500ºC (932ºF) hoặc cao hơn. Do đó, động cơ diesel nói chung có tỷ số nén (15: 1 đến 22: 1) cao hơn nhiều so với động cơ xăng (6: 1 đến 12: 1)
Đồng thời, động cơ diesel được chế tạo mạnh hơn nhiều so với động cơ xăng cũng vì lý do tương tự.
Mục lục1.Tìm hiểu ưu điểm và nhược điểm của động cơ Diesel trên xe nâng Toyota? 2.Nguyên tắc vận hành động cơ Diesel |
Tìm hiểu ưu điểm và nhược điểm của động cơ Diesel trên xe nâng Toyota?
Ưu điểm:
- Động cơ diesel có hiệu suất nhiệt lớn hơn. Điều này có nghĩa là chúng tiêu thụ ít nhiên liệu hơn và tiết kiệm hơn so với động cơ xăng.
- Động cơ diesel bền hơn và không làm hỏng bộ đánh lửa điện. Điều này có nghĩa là chúng ít gặp sự cố hơn so với động cơ xăng.
- Mô-men xoắn của động cơ diesel hầu như không thay đổi trên dải tốc độ rộng. Điều này có nghĩa là động cơ diesel linh hoạt hơn và dễ vận hành hơn động cơ xăng. (Điều này làm cho động cơ die sel phù hợp với các loại xe lớn.)
Nhược điểm:
- Áp suất đốt cháy tối đa của động cơ diezel gần gấp đôi áp suất của động cơ xăng. Điều này có nghĩa là động cơ diesel tạo ra tiếng ồn và độ rung lớn hơn.
- Vì áp suất đốt cháy tối đa là cao, động cơ diesel phải được làm bằng vật liệu có độ bền chắc cao và phải cócấu trúc mạnh mẽ. Điều này có nghĩa là động cơ diesel có trọng lượng trên mỗi mã lực lớn hơn xăng động cơ. Chúng cũng tốn nhiều chi phí hơn để chế tạo.
- Động cơ diesel yêu cầu một hệ thống dẫn nhiên liệu chính xác khác nhau. Điều này có nghĩa là chúng hoạt động mạnh hơn và cần được bảo dưỡng cẩn thận hơn và bảo dưỡng hơn động cơ xăng.
- Động cơ diesel có tỷ số nén cao hơn và yêu cầu một lực lớn hơn để quay chúng. Do đó, họ yêu cầu thiết bị quay như bộ khởi động và pin có dung lượng lớn hơn.
Nguyên tắc vận hành động cơ Diesel
Dừng lại
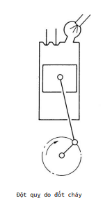
Không khí được đưa vào xi lanh trong một hành trình nạp. Một piston tạo ra chân không trong xi lanh, giống như trong động cơ xăng, khi nó đi xuống từ tâm trên xuống tâm chết dưới. Máy hút bụi gây ra hiện tượng hút gió qua van nạp, nạp khí tươi vào xilanh. Van xả được đóng trong hành trình nạp.

Nén
Piston tăng từ tâm chết dưới về phía tâm chết trên trong một hành trình nén. Cả van nạp và van xả đều đóng. Không khí mà gây ra hiện tượng hút gió qua van nạp, nạp khí tươi vào xilanh. Van xả được đóng trong hành trình nạp. được đưa vào xi lanh trong hành trình nạp được ép cho đến khi áp suất của nó tăng lên khoảng 30 kg / cm2 (427 psi, 2.942 kPa) và nhiệt độ của nó ở khoảng 500 đến 800ºC (932 đến 1472ºF).

Kết hợp Stroke
Không khí trong xylanh được đẩy vào buồng đốt trước, một trong số đó nằm ở trên cùng của mỗi buồng đốt. Vào cuối hành trình đốt cháy, vòi đánh lửa mở ra và phun sương mù nhiên liệu vào buồng đánh lửa trước và hỗn hợp không khí-nhiên liệu bốc cháy do áp suất tạo ra nhiệt lượng. Cả nhiệt độ và áp suất đều tăng mạnh và nhiên liệu còn lại trong buồng đốt trước được đẩy trở lại buồng đốt chính phía trên piston. Điều này phá vỡ nhiên liệu thành các hạt nhỏ hơn và làm cho nó trộn với không khí bên trong com chínhbuồng đốt và cháy rất nhanh. Năng lượng đốt cháy làm khí nở ra nhanh chóng, và piston bị đẩy xuống dưới bởi khí nở ra. Lực đẩy piston đi xuống được thanh truyền và trục khuỷu biến đổi thành chuyển động quay để cung cấp năng lượng cho xe nâng hàng.

Xả dừng
Khi piston bị đẩy xuống phía dưới cùng trung tâm, van xả mở ra và khí cháy được xả qua van xả như piston lại đi lên. Khí được thải ra hoàn toàn khi piston đạt đến đỉnh chết trung tâm, và một hành trình nạp mới bắt đầu. Trong khi động cơ hoàn thành bốn kỳ (nạp, nén, đốt và xả), trục khuỷu quay hai lần và tạo ra sức mạnh.

Các loại động cơ Diesel trên xe nâng hàng bạn nên biết
Buồng đốt của động cơ diesel trên xe nâng dầu là một thành phần quan trọng nhất để xác định hiệu suất động cơ diesel. Các cấu hình buồng khác nhau đã được lựa chọn trong nỗ lực cải tiến động cơ diesel theo từng công thức bằng cách đảm bảo rằng nhiên liệu được phun vào buồng nguyên tử hóa, hóa hơi và trộn đều với không khí: Các phương pháp bao gồm sử dụng cổng nạp hình thành trong đầu xi lanh để tạo ra một vòng xoáy không khí bên trong xi lanh, hoặc thêm một buồng đốt phụ trợ khai thác khí mở rộng ở giai đoạn đánh lửa ban đầu để giúp cải thiện hiệu suất đốt cháy.
Loại tiêm trực tiếp
Vòi phun phun nhiên liệu trực tiếp vào buồng đốt chính. Buồng cung cấp ở phần trên cùng của piston được tạo thành một trong những hình dạng đặc biệt được thiết kế để cải thiện hiệu quả cháy.

Các loại tiêm trực tiếp

Ưu điểm của loại tiêm trực tiếp
- Diện tích bề mặt nhỏ hơn khi tiêm trực tiếp buồng giảm thiểu thất thoát nhiệt, do đó nâng cao nhiệt độ của không khí nén và sự đánh lửa ngẫu nhiên. Do đó, một máy gia nhiệt sơ bộ là không cần thiết để bắt đầu ở nhiệt độ môi trường bình thường. Các hiệu suất nhiệt cao hơn cũng mang lại sản lượng cao hơn.
- Đầu xi lanh có cấu tạo đơn giản hơn nên ít bị biến dạng nhiệt.
- Vì ít nhiệt bị mất hơn, tỷ lệ nén có thể được giảm.
Nhược điểm của loại tiêm trực tiếp
- Bơm phun phải có độ bền cao để tạo ra áp suất phun cao hơn cần thiết để nguyên tử hóa hiệu quả nhiên liệu bằng cách buộc nó đi qua một vòi loại nhiều lỗ.
- Tốc độ động cơ tối đa có thể thấp hơn vì vòng xoáy trộn nhiên liệu ít rõ rệt hơn hơn của buồng đốt phụ loại.
- Áp suất đốt cao hơn tạo ra nhiều hơn tiếng ồn và làm tăng nguy cơ kích nổ động cơ diesel.
- Động cơ rất nhạy cảm với chất lượng nhiên liệu, vì vậy nói chung cần phải có nhiên liệu chất lượng cao.
Loại Chamber điều chỉnh
Như trong hình dưới đây, nhiên liệu được phun vào buồng đốt trước bằng vòi phun.
Quá trình đốt cháy một phần diễn ra, và phần nhiên liệu chưa cháy hết còn lại được thải qua đường dẫn nhỏ giữa buồng đốt trước và buồng chính, nơi nó được chia nhỏ thành các hạt mịn để đốt cháy hoàn toàn trong buồng đốt chính.

Thuận lợi
- Có thể sử dụng nhiều loại nhiên liệu. Tương đối kém nhiên liệu có thể được sử dụng với quá trình đốt cháy ít khói hơn.
- Dễ dàng duy trì vì áp suất phun nhiên liệu tương đối thấp và động cơ tương đối không nhạy cảm với việc thay đổi thời điểm phun.
- Do sử dụng loại vòi phun tiết lưu, tiếng gõ của động cơ diesel giảm và động cơ hoạt động yên tĩnh hơn.
Nhược điểm
- Chi phí xây dựng cao hơn do xi lanh thiết kế phức tạp.
- Cần có bộ khởi động lớn hơn. Các phích cắm phát sáng được sử dụng bởi vì bắt đầu rất khó.
- Mức tiêu hao nhiên liệu tương đối cao hơn.
Kiểu Chamber Swirl
Như trong hình bên dưới, buồng xoáy có dạng hình cầu. Không khí được nén bởi tấn pis đi vào buồng xoáy và tạo ra một dòng chảy ngược để nhiên liệu được phun vào. Phần lớn nhiên liệu bị cháy trong buồng xoáy, nhưng một phần nhiên liệu chưa cháy hết đến buồng đốt chính đi qua đường trung chuyển để hoàn thành chuyến xe buýt.

Thuận lợi
- Tốc độ động cơ cao có thể đạt được do nhiễu loạn nén lớn.
- Ít gặp sự cố vòi phun hơn do sử dụng loại chân cắm vòi phun.
- Phạm vi tốc độ động cơ rộng và hoạt động mượt mà hơn sự.
Nhược điểm
- Cấu tạo phức tạp của đầu xi lanh và cyl khối inder.
- Hiệu suất nhiệt và tỷ lệ tiêu thụ nhiên liệu đều kém hơn so với hệ thống phun nhiên liệu trực tiếp.
- Cần có phích cắm phát sáng, nhưng vì chúng không hiệu quả đối với buồng xoáy lớn, động cơ khởi động ít dễ dàng hơn.
- Tiếng nổ diesel tương đối lớn ở tốc độ thấp.
Đơn vị cung cấp xe nâng dầu Diesle số 1 Việt Nam
TFV là đơn vị cung cấp các sản phẩm xe nâng dầu mới và cũ, với hơn 10 năm kinh nghiệm trong ngành thiết bị nâng hạ, hàng nghìn sản phẩm xe nâng dầu đã đến tay khách hàng trên toàn quốc.
Các sản phẩm xe nâng động cơ dầu Diesel tại TFV vô cùng đa dạng về tải trọng, chiều cao nâng cũng như thương hiệu: Toyota, Komatsu,... và đặc biệt có đội ngũ tư vấn viên chuyên nghiệp, kỹ sư cơ khí trình độ cao với nhiều năm kinh nghiệm.
Hãy nhanh tay liên hệ đến TFV để nhận được mứ giá ưu đãi nhất trong hôm nay nhé !



